携手清华大学!奇瑞又放大招
字体大小:
继去年10月的2024奇瑞全球创新大会上,奇瑞宣布三体复合翼飞行汽车成功首航后,飞行汽车又有新消息!日前,清华大学、奇瑞汽车股份有限公司申请的“分体式飞行汽车”专利公布。

此前公布并亮相的“三体复合翼飞行汽车”让人看到了汽车的“未来式”,让人翘首以待新产品未来的亮相。
根据专利申请书显示,目前大多数飞行汽车的设计还存在起降时间长、效率低、能耗高等问题。因此,如何提高飞行汽车的起降效率,成为亟待解决的问题。鉴于此,该申请提供一种分体式飞行汽车,未来能够提高飞行汽车的起降效率。

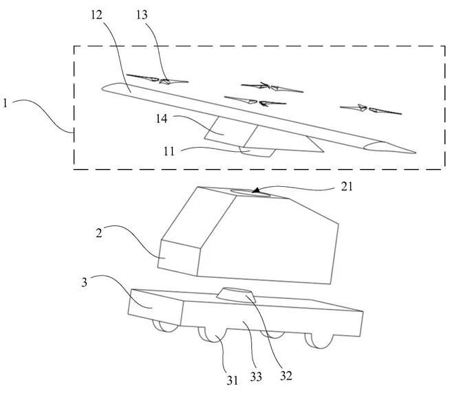
在申请书上,该申请提供一种分体式飞行汽车,包括:飞行器模块、座舱模块和底盘模块,分体式飞行汽车具有地面模式、飞行模式、起飞模式和降落模式。
飞行器模块与座舱模块的顶部相连,底盘模块与座舱模块的底部可拆卸地连接,当在分体式飞行汽车:
从起飞模式切换到飞行模式后,底盘模块与座舱模块分离;
从飞行模式切换到降落模式后,底盘模块与座舱模块对接。

通过该设置,在分体式飞行汽车从起飞模式切换到飞行模式后,底盘模块可以与座舱模块分离,减小飞行阻力,降低飞行能耗;
在分体式飞行汽车从飞行模式切换到降落模式后,底盘模块能够与座舱模块对接,使分体式飞行汽车平稳地滑行降落,提高降落效率。

该产品首创三体对接机构:
飞行模块+座舱=飞行形态
行驶模块+ 座舱=汽车形态

这款三体式复合翼飞行汽车没有方向盘、油门等,汽车支持飞行及行驶两种模式无人驾驶,可实现陆空无人驾驶模式切换,助力解决城市交通拥堵问题。
未来已来!
汽车的行驶不再仅限于陆地
还将被技术赋予更多的可能
▍记者:李婷维 郭安妮 ▍编辑:郭安妮




